Среди множества патентов, выданных компаниями, уникальный патент Google показывает, что пользователи могут делать снимки / селфи без смартфона. Соответственно, новый патент показывает умное кольцо, которое может делать селфи, когда вы его носите.
Кредит: Google / USPTO
Как было обнаружено Protocol (через новости Softpedia), Google подал заявку на патент в USPTO еще в мае 2019 года. Однако он был опубликован только 10 ноября 2020 года. USPTO является патентом и товарным знаком США. Офис. Во-первых, аннотация к патенту в значительной степени подтверждает, что это умное носимое устройство с селфи-камерой.
Contents
Google Смарт-кольцо – структура и функции
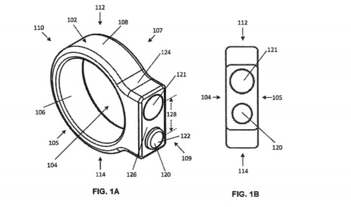
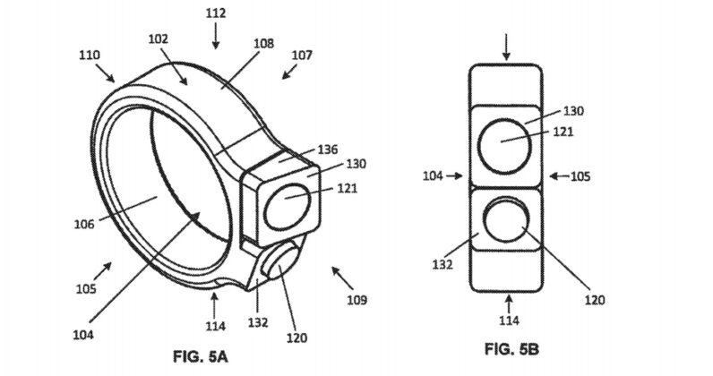
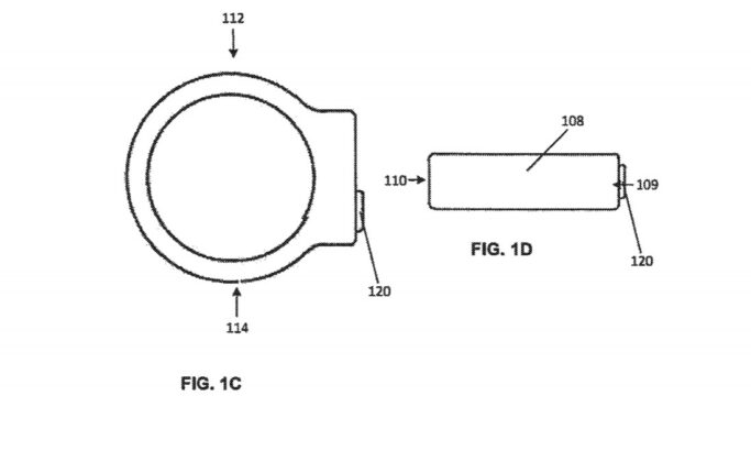
Согласно описанию патента, умное кольцо имеет отверстие (отверстие), достаточное для размещения пальца. Точнее, в нем говорится, что форма отверстия соответствует форме первого пальца (пальца, на котором сидит кольцо) пользователя. Кроме того, внутри смарт-кольца размещены следующие компоненты:
- Процессор (для обработки, координации, передачи данных)
- Устройство ввода (кнопка / джойстик / сенсорный датчик / рычаг / диск)
- Оптический датчик (Обычная камера / камера с автофокусом – для захвата изображений)
- Передатчик (передача изображения на внешнее устройство – беспроводное соединение)
- Источник питания (дополнительно – аккумулятор / топливные элементы / сверхконденсатор) – для питания процессора, передатчика и камеры с автофокусом.
- Индикатор (источник света / динамик / устройство тактильной обратной связи)
Кроме того, интеллектуальное кольцо также требует второго носимого устройства, обычно HUD (Heads-Up Display) для передачи и отображения изображений. В целях представления Google показаны схемы Smart Glass. По сути, компания заявляет, что не включала другие реализации, чтобы избежать скрытия (сохранения в секрете) вариантов.
Структура смарт-кольца
Вид сбоку
Начнем с того, что Google говорит, что интеллектуальное кольцо состоит из двух поверхностей, кроме кольца: в одной находится камера, а в другой – устройство ввода. Кроме того, обе поверхности имеют наклон вбок для удобства пользователя и его / ее пальцев. Также корпус, в котором установлена камера, может выступать из платформы и за пределы кольца.
Это соответствует пальцу, на котором его носят (например, указательный / безымянный палец левой руки). Обычно пальцем может быть любой человек на любой руке. Google даже упоминается, что круглое тело также может иметь форму спирали / спирали с изломом. Соответственно, он расширится, чтобы выдержать пальцы разных размеров.
ВЫБОР РЕДАКТОРА: Apple запатентовал футуристическую гарнитуру VR / AR, которая отправляет изображения непосредственно ученикам пользователей.
Функция
Что касается устройства ввода, то пользователь может выполнять разные действия с разным уровнем нажатия (если кнопка) на него. Однако в случае сенсорного датчика он может определять разные уровни касания и правый палец для ввода, чтобы избежать случайных нажатий. Другие механизмы срабатывания также могут быть от ноутбука / мобильного телефона, реакция на человеческий стимул, отслеживание глаз через Smart Glass и многое другое.
Таким образом, при срабатывании сенсор захватывает изображение и отправляет его в процессор. Камера может быть фиксированной камерой с автофокусом. В соответствии с положением Google говорится, что камера проецируется вверх, наклоняется в сторону для захвата изображения. Кроме того, возможность подключения к HUD намекает, что он также может транслировать содержимое на экран в реальном времени.
Названный механизм
Схема связи. Левое умное кольцо, центральная связь, правый HUD
При этом процессор имеет ЦП, РЧ-схему (РЧ-трансивер / DSP / SIM), ввод-вывод, питание. В кольцо также могут входить гироскоп, акселерометры на вибро / ударные воздействия. Кроме того, Google также говорит о дополнительном модуле управления. Интеллектуальное кольцо может использовать проводное соединение, Wi-Fi, WiMax, Bluetooth, NFC одностороннее / двунаправленное для отправки данных на второе устройство.
Дополнительное носимое устройство (HUD)
Говоря о втором носимом устройстве, Google говорит, что это может быть что угодно, от умного стекла до HUD (Heads Up Display). Точнее, он должен иметь дисплей для просмотра содержимого, процессов и передатчик для связи с интеллектуальным кольцом.

Also, other implementations of Google’s secondary wearable device hints at the possibility of a Helmet, Headbands etc. Nevertheless, this looks like an interesting patent from Google and we hope it becomes reality когда-нибудь.
